The CAS301 wheel is made of aluminium alloy mounted on ball bearings and the roller groove is lined with wear-proof interchangeable nylatron.
The frame is made of galvanized steel and the connection is fixed.
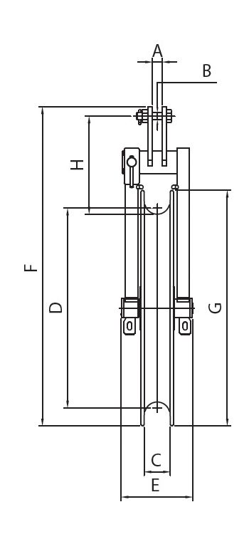
| Dimensions (mm) | A | B | C | D | E | F | G | H | Working load (kN) | Wt (kg) |
|---|---|---|---|---|---|---|---|---|---|---|
| 26 | 18 | 54 | 350 | 150 | 595 | 440 | 200 | 23 | 11 |
Contact TEN for earthing device or complete conductive sheaves (available upon request).
Copyright © TEN Group | ABN 72 093 052 441

